Produktbeschreibung
Details
AEG Glaskeramikkochfeld HK634060XB
Marke

Highlights
- durch TouchControl präzise Kontrolle
- Mehrkreis- und Bräterzone
- einstellbare Timer
- Stop+Go Funktion
- Kindersicherung
- Ankochautomatik
Maße
- Durchmesser Kochfeld vorne rechts145 mm
- Einbaumaß Breite56 cm
- Gesamthöhe3,8 cm
- Durchmesser Kochfeld hinten links145 mm
- Einbaumaß Tiefe49 cm
- Gesamttiefe51,6 cm
- Durchmesser Kochfeld vorne links210 mm
- Mehr zu MaßenEinbaumaß 38 x 560 x 490 mm
- Durchmesser Kochfeld hinten rechts170 mm
- Gesamtbreite57,6 cm
- Einbaumaß Höhe max.3,8 cm
Merkmale
- Mehr zu AusführungKabellänge 1,5 mOptiFit Frame - Edelstahlrahmen14 Stufen Regulierung der KochstellenRestwärmeanzeige für 4 Kochzonen
- AusführungTouch Control Bedienung
Ausstattung
- Ausstattung / FunktionElektronische TemperatursteuerungTimer
- Kochfeld hinten linksNormal-Kochzone
- Kochfeld hinten rechtsBräterzone
- Einfassung KochfeldRahmen
- Mehr zu Ausstattung / FunktionPause-FunktionKurzzeitweckerEingabebestätigung durch SignaltonKindersicherungVerriegelungsfunktionLeistungsabhängige Abschaltautomatik
- Kochfeld-TypGlaskeramik
- Kochfeld vorne rechtsNormal-Kochzone
- Kochfeld vorne links2-Kreis Kochzone
Technische Daten
- Leistung Kochfeld hinten rechts2,4 kW
- Spannung220-240 V
- Anschlussleistung7000 W
- Leistung Kochfeld vorne links2,2 kW
- Leistung Kochfeld hinten links1,2 kW
- max. Leistung7000 W
- Leistung Kochfeld vorne rechts1,2 kW
- Frequenz50-60 Hz
- Absicherung10 A
Lieferumfang
- Lieferumfang / mitgeliefertes ZubehörAnschlußkabel ca. 1,5 m lang
Hinweise
- SicherheitshinweiseKindersicherungVerriegelungsfunktion
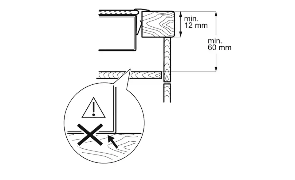
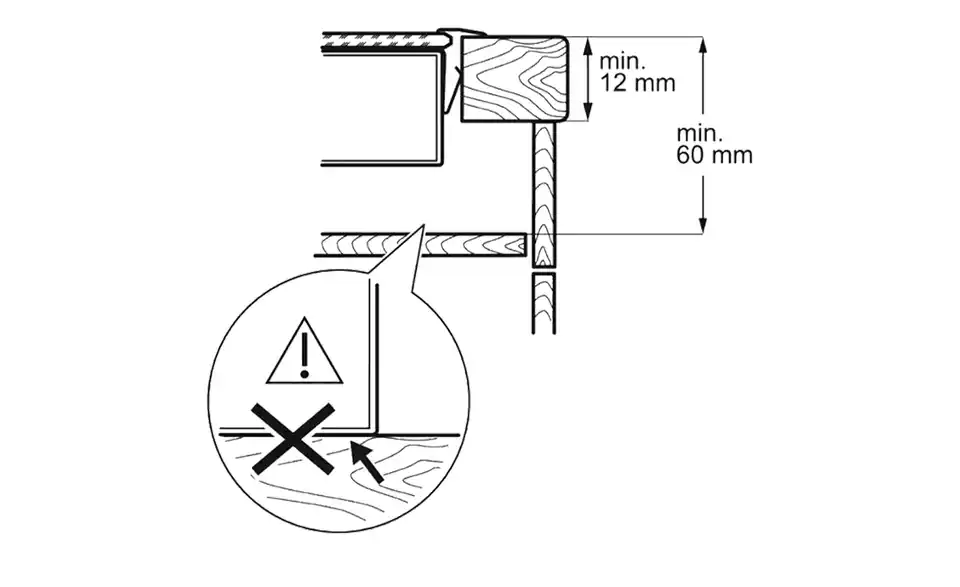
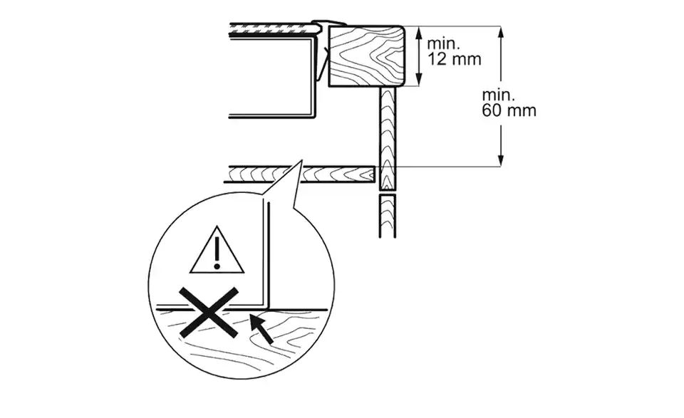
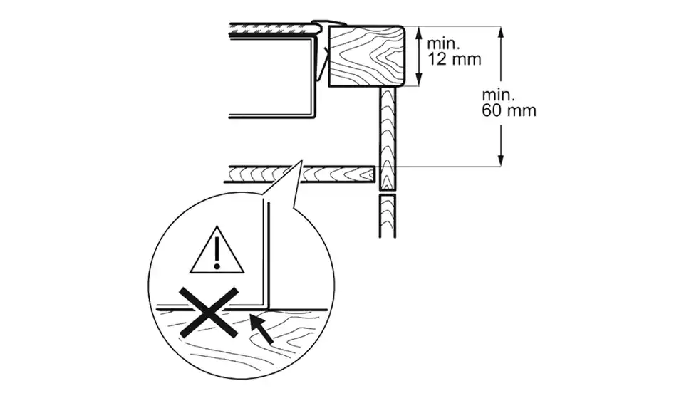
- MontagehinweiseOptiFix einfaches Installationskonzept
Material & Farbe
- Farbe / DekorSchwarzedelstahlfarben
- Mehr zu MaterialEdelstahlrahmen
- Mehr zu FarbeEdelstahlrahmen
- MaterialGlasEdelstahlMetallKunststoff
Artikelnummer:
- 46080135
- * Lieferung ohne Dekoration
Lieferung & Versand
Lieferung:
Diesen Artikel liefern wir per Spedition zu Ihnen nach Hause bis zur Bordsteinkante. Gegen einen geringen Aufpreis von 20,00 € bringen wir Ihr neues Elektrogerät bis zur Verwendungsstelle. Gerne entsorgen wir auch das jeweilige Altgerät. Die Mitnahme Ihres Altgeräts können Sie kostenlos direkt im Warenkorb beauftragen. Wir melden uns innerhalb von einem Werktag bei Ihnen, um einen Liefertermin mit Ihnen zu vereinbaren. Hierfür benötigen wir bei Abgabe der Bestellung Ihre Telefonnummer. Für Elektrogroßgeräte berechnen wir eine pauschale Versandgebühr in Höhe von 49,00 € pro Bestellung.
Aufbau & Montage:
- Anzahl Packstücke:1
- Packstück 1
- Länge: 60 cm
- Höhe: 12 cm
- Breite: 67 cm
- Gewicht: 12 kg
Retoure:
Ihr Wunschartikel gefällt Ihnen nicht oder weist Mängel auf? Kein Problem, wir holen den per Spedition gelieferten Artikel auch wieder bei Ihnen ab und kümmern uns um die Reklamation. Einzelheiten hierzu finden Sie in unseren AGB. Bei Abgabe eines neuen Elektro- oder Elektronikgeräts holen wir mit Lieferung des Neugeräts per Spedition ein gleichartiges Altgerät an der Lieferadresse des Neugeräts unentgeltlich ab, sofern Sie dies wünschen. Bei Lieferung des Neugeräts per Paket nehmen wir ein gleichartiges Altgerät ohne Vorankündigung per Versand an den Verkäufer mittels des dem Paket beigelegten Retourenlabels unentgeltlich zurück. Beinhaltet das Altgerät Beleuchtungskörper, die gefährliche Stoffe wie Quecksilber enthalten, setzen Sie sich bitte mit unserem Kundendienst in Verbindung. Bitte beachten Sie die Entsorgungs- und Umwelthinweise.
0 % Finanzierung
23,25 € in 12 Monatsraten mit der 0 % Finanzierung*
Finanzierungsbeispiel:
- Ohne Anzahlung - ohne Gebühren
- Ihre 0 % Finanzierung für Laufzeiten bis 12 Monate, ab 100 € im Online-Shop, nach Abzug aller Rabatte, für Neukäufe möglich
- Effektiver Jahreszins und gebundener Sollzinssatz (jährl.) 0,00 % bis zu 12 Monate
- Kaufpreis entspricht dem Nettodarlehensbetrag
- Vermittlung erfolgt ausschließlich für den Kreditgeber TARGOBANK AG in Düsseldorf
- Bonität vorausgesetzt
Vorraussetzung:
Sie stehen in einem ungekündigten und unbefristeten Arbeitsverhältnis und arbeiten bei einem in Deutschland ansässigen Arbeitgeber - oder Sie beziehen Rente in Deutschland - oder Sie gehen in Deutschland einer selbstständigen Tätigkeit nach - und Sie haben keinen negativen Schufa-Eintrag - und Sie haben ein regelmäßiges Haushaltsnettoeinkommen von mind. 600,- € netto.
Hier finden Sie weitere Informationen zur Finanzierung
Anleitungen und Sicherheit
Hersteller bzw. in der EU ansässiger verantwortlicher Wirtschaftsakteur gemäß GPSR
Dokumente ansehen und herunterladen
BedienungsanleitungÜber die Marke

Über die Marke

Effizienz und Design
1887 beginnt die Erfolgsgeschichte von AEG in Berlin mit der deutschen Lizenz für Edisons Glühbirne. Seitdem entwickelt AEG Haushaltsgeräte mit immer neuen Technologien weiter und hat dabei immer den optimalen Nutzen im Blick. Dank cleverer Funktionen, zeitlosem Design und nachhaltiger Produktion zählen AEG Geräte zu den absoluten Kunden-Lieblingen.
Produktbewertungen
Mehr dazu, wie wir unsere Bewertungen sammeln und prüfen, erfahren Sie im unteren Teil unserer Seite unter der Überschrift: "Sammlung & Prüfung von Produktbewertungen".Jetzt bewerten!
Es liegen noch keine Kundenmeinungen vor. Möchten Sie die erste Bewertung erstellen?




